18.076 ⭐⭐⭐⭐⭐ Bewertungen 😍
Die schönsten Strick- und Häkelpakete lesen Sie in unserem 18.076 ⭐⭐⭐⭐⭐ Bewertungen 😍
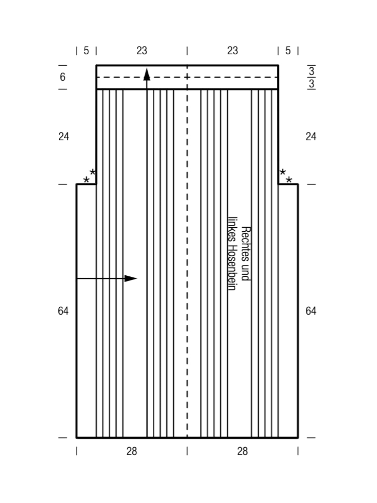
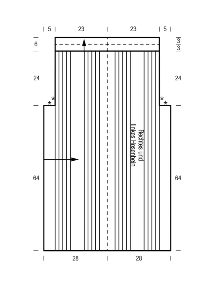
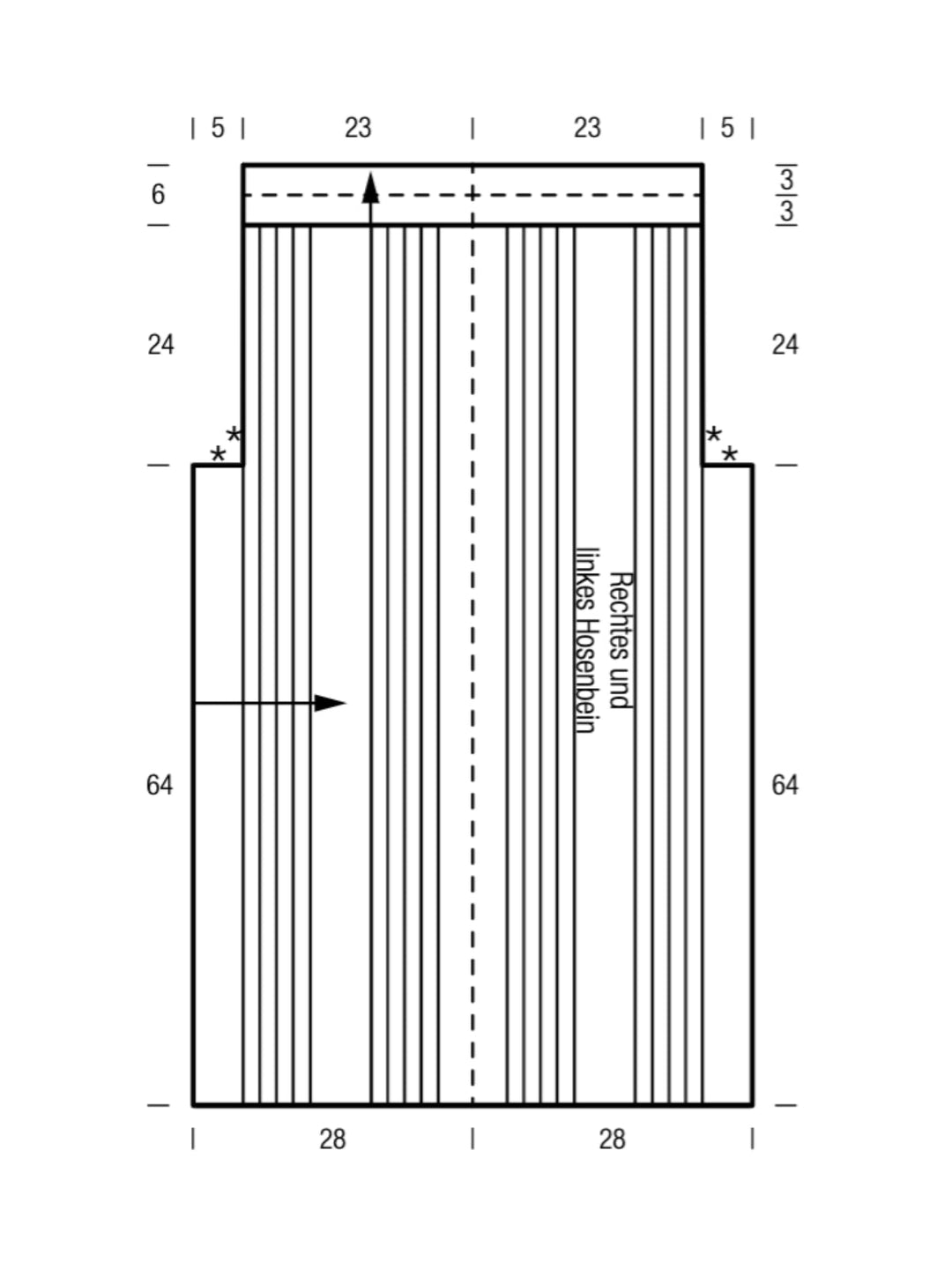
Diese sommerliche Hose wird in verschiedenen Maschenarten gehäkelt, dabei werden zwei Farben kombiniert. Für das Filethäkeln enthält die Anleitung eine Häkelschrift.
Dieses Paket enthält das benötigte Garn und das Häkeln No. 9 magazin von Lana Grossa. Die Nadeln können Sie unten Ihrem Warenkorb hinzufügen.
Größe 36 bis 40
Material: Lana Grossa-Qualität „Summer
Cashmere” (90 % Baumwolle, 10 % Kaschmir,
LL = ca. 210 m/50 g): ca. 300 g Creme (Fb.
2) und ca. 200 g Resedagrün (Fb. 23); 1 Woll-
häkelnadel Nr. 3; 1 Rundstricknadel Nr. 3, 60 cm
lang; ca. 65 cm weißes Gummiband, 2 cm breit.
Senden Sie mir den Newsletter mit den neuesten Modellen und tollen Angeboten!
Schöne Sockenwolle, die ich schon öfters verstrickt habe. Ich bin sehr zufrieden damit. Hieraus entstehen ein paar Herrensocken mit einen Muster aus dem Buch "Socken Liebe" von Tanja Steinbach.
Sehr schönes Wollpaket. Tolle Farbzusammenstellung. Habe sofort nach Erhalt mit dem Stricken angefangen. Bin von dem Ergebnis begeistert.
Ein sehr schönes Farbverlaufsgarn. Ich stricke sehr gerne Socken mit Muster, da passte die Sockenwolle perfekt. Ich bin wie immer begeistert von der Landlust Sockenwolle 👍
Join program to get rewards
Lösen Sie Ihre Punkte gegen Rabatte ein
Use this discount code on your next order!
Reward expires on